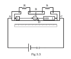
In a meter bridge the point D is a neutral point (Fig 3.3).

A. The meter bridge can have no other neutral point for this set of resistances.
B. When the jockey contacts a point on meter wire left of D, current flows to B from the wire.
C. When the jockey contacts a point on the meter wire to the right of D, current flows from B to the wire through galvanometer.
D. When R is increased, the neutral point shifts to left.
In a meter bridge, a null point is unique to a given set of resistances and thus, no additional null points occur along the wire. This makes option (a) correct.
When we move a little bit right of D, the length of wire increases, thus the resistance increases. Thus, the voltage drop increases. The voltage drop across AD is more than AB. This means, Point D is at lower potential than B. So, current flows from B to D. Thus option (c) is correct. On moving to the left, opposite of this happens and B is at lower potential than D. So current will flow from D to B. Hence, option (b) is incorrect.
As R increases, the potential drop across AB will increase. So to adjust, the neutral point has to shift to right (to increase resistance of the wire). Option (D) is incorrect.